Code Interiors
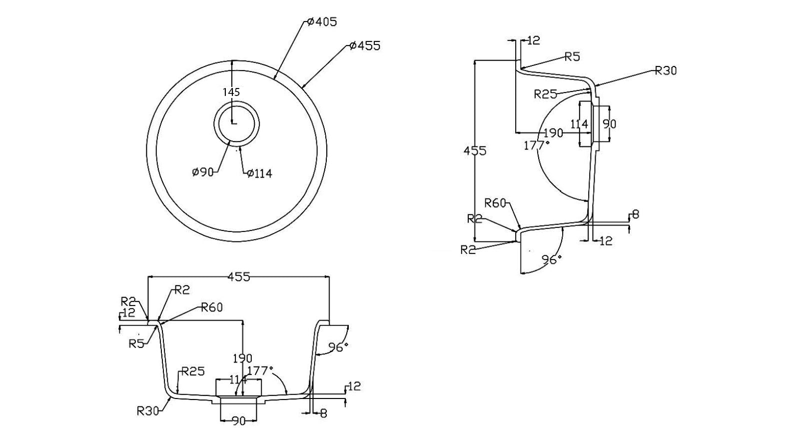
CODE AURA 405 ROUND GRANITE SINK
CODE AURA 405 ROUND GRANITE SINK
SKU:GARND4MB
Couldn't load pickup availability
- Engineered Stone Quartz
- Sound Insulated
- Stain Resistant
 
- Stainless Steel waste and overflow included
- Top Mount or Undermount
- 10 year Warranty
                      
                        
                        
                          Technical Specifications
                        
                      
                    
                  Technical Specifications
                      
                        
                        
                          Warranty and Care Instructions
                        
                      
                    
                  Warranty and Care Instructions
Share
 
 

 
PVD COLOURED FINISH
Code Nature tapware range with PVD finishes offers unmatched durability, maintaining its beauty for years. The protective coating resists scratches, corrosion, tarnishing, and fading. PVD process reduces waste and promotes sustainable consumption by minimizing replacements and waste generation.
 
INSPIRED FROM NATURE
Our Nature collection draws inspiration from the elements of nature, Nature features subtle details that evoke the movement of water, the minimalist design of nature. The handles and spouts of our taps feature soft slim curves and clean lines, creating a sense of flow and harmony that seamlessly blends with any interior.
 
     
    Discover Our Nature Vanities
Our collection of wall hung vanities. Our Wall Hung Vanities range from varies sizes for your water closet, powder room and main bathrooms.
 
               
     
    